ПО Replicator

()

ПО Replicator

Изображение товара

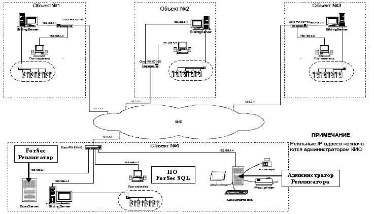
Одним из направлений в развитии ПО ForSec™ является построение на его базе территориально-распределенных систем, состоящих из множества локальных объектов СКУД. В итого был создан модуль интеллектуальной репликации данных «ForSec Репликатор», позволяющий объединить в единую систему контроля доступа неограниченное количество локально-функционирующих СКУД на базе ForSec™.

ПО Replicator. Изображение  1Данный модуль обеспечивает администрирование и управление всей системы с любого объекта, синхронизацию данных между объектами и получение единой информации. Репликатор был разработан с учетом его функционирования в различных режимах, определяемых для каждого локального объекта СКУД:

  1. on-line – доступно постоянное соединение с локальным объектом,
  2. каждый заданный период времени,
  3. в определенный промежуток времени суток,
  4. вручную по команде оператора.

Во всех режимах репликатор обеспечивает свою непрерывную работу и отказоустойчивость к возможным сетевым сбоям и сбоям в работе SQL-сервера.

Для управления репликатором был создан модуль «Администратор Репликатора», позволяющий конфигурировать модуль репликации и вести диагностику его работы. Все действия репликатора протоколируются с возможностью анализа его работы администратором системы.

ПО Replicator. Изображение  1

Он был успешно введен в эксплуатацию на одном из крупных объектов, состоящем из более 10 локальных СКУД.

В дополнении к репликатору был разработан WEB-интерфейс, позволяющий организовать удобный и быстрый доступ и контроль присутствия на объекте(ах) определенных лиц VIP-руководителями со своих рабочих мест и/или из любой точки сети Интернет в режиме "реального времени".

Forsec
0
Цена по запросу 0 руб.0 руб.

Не является публичной офертой

Описание

Одним из направлений в развитии ПО ForSec™ является построение на его базе территориально-распределенных систем, состоящих из множества локальных объектов СКУД. В итого был создан модуль интеллектуальной репликации данных «ForSec Репликатор», позволяющий объединить в единую систему контроля доступа неограниченное количество локально-функционирующих СКУД на базе ForSec™.

ПО Replicator. Изображение  1Данный модуль обеспечивает администрирование и управление всей системы с любого объекта, синхронизацию данных между объектами и получение единой информации. Репликатор был разработан с учетом его функционирования в различных режимах, определяемых для каждого локального объекта СКУД:

  1. on-line – доступно постоянное соединение с локальным объектом,
  2. каждый заданный период времени,
  3. в определенный промежуток времени суток,
  4. вручную по команде оператора.

Во всех режимах репликатор обеспечивает свою непрерывную работу и отказоустойчивость к возможным сетевым сбоям и сбоям в работе SQL-сервера.

Для управления репликатором был создан модуль «Администратор Репликатора», позволяющий конфигурировать модуль репликации и вести диагностику его работы. Все действия репликатора протоколируются с возможностью анализа его работы администратором системы.

ПО Replicator. Изображение  1

Он был успешно введен в эксплуатацию на одном из крупных объектов, состоящем из более 10 локальных СКУД.

В дополнении к репликатору был разработан WEB-интерфейс, позволяющий организовать удобный и быстрый доступ и контроль присутствия на объекте(ах) определенных лиц VIP-руководителями со своих рабочих мест и/или из любой точки сети Интернет в режиме "реального времени".

Характеристики
Артикул производителя:16032Бренд:ForsecСортировка для цены:100Снято с производства:N

Оплата

Оплатить заказ Вы можете безналичным переводом по реквизитам, указанным в выставленном счёте после оформления заказа.

Доставка

«Альянс групп»предоставляет полный комплекс услуг по доставке оборудования в любую точку страны, любым видом транспорта.

Получить приобретённый товар Вы можете удобным для Вас способом:

  • Самовывозом с нашего склада, расположенного по адресу- г. Москва, 104 км. МКАД, д. 8А.
  • Воспользоваться услугой доставки в пределах Москвы и Московской области. Заказ и согласование даты доставки осуществляется через Вашего менеджера.

Если сумма заказа превышает 50 тыс. рублей, доставка по одному адресу Получателя осуществляется БЕСПЛАТНО.

  • Доставка заказа в регионы России осуществляется через транспортные компании. Доставка груза до транспортной компании производится нашим транспортом.

Тарифы доставки по Москве:


При сумме заказа менее 50 тыс. рублей, доставка по Москве осуществляется по тарифам зоны:

  • зона 3 — 500 руб.;
  • зона 1 — 1000 руб.;
  • зона 2, 4 — 1500 руб.;
  • зона 5 — 2000 руб

Транспортные компании, с которыми мы сотрудничаем:

Вас также может заинтересовать: