Назначение
Прибор «ВС-ВЕКТОР-АП220» предназначен для обеспечения защиты охраняемого объекта от пожара и несанкционированного проникновения. Применяется для создания на объекте системы пожарной и охранной сигнализации и пожарного оповещения.
Отдельный прибор «ВС-ВЕКТОР-АП220» может быть использован для целей пожарной и охранной сигнализации и оповещения на небольшом объекте.
Группы приборов «ВС-ВЕКТОР-АП220» и «ВС-ВЕКТОР-АП250» совместно с системой передачи извещений «ВЕТТА-2020», объединяющей до 40 приборов, обеспечивают на средних и больших объектах пожарную сигнализацию и пожарное оповещение, охранную защиту в полном объеме.

Особенности
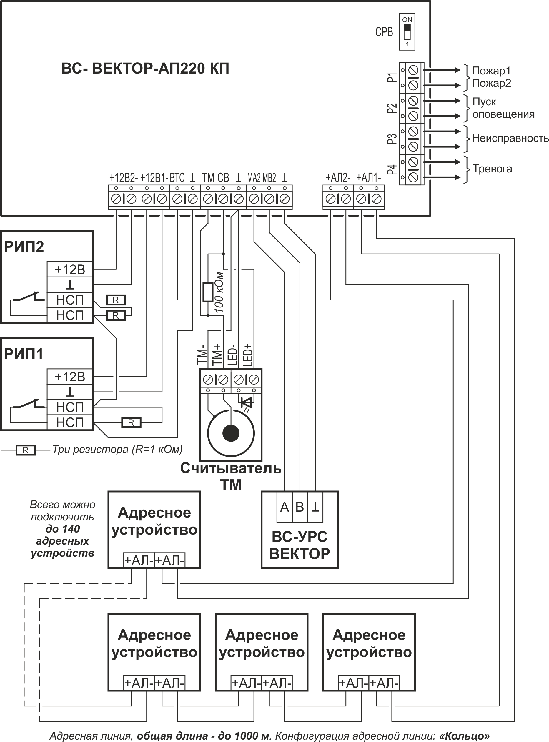
- Основу прибора составляет адресная контрольная панель «ВС-ВЕКТОР-АП220 КП». Совместно с контрольной панелью может быть использовано устройство регистрации событий «ВС-УРС ВЕКТОР».
- Прибор может работать в автономном режиме, или в составе пультовой системы, системы передачи извещений «ВЕТТА-2020».
- К адресному прибору «ВС-ВЕКТОР-АП220» подключается до 140 адресных устройств – адресных пожарных и охранных извещателей, адресных оповещателей, тревожных кнопок, других адресных устройств.
- В приборе реализованы алгоритмы принятия решения о пожаре «А», «В», «С» по СП484. 1311500.2020.
- Адресные устройства подключаются к двухпроводной адресной линии связи прибора, которая может иметь вид: «Кольцо», «Луч», «Два луча», «Звезда». Для проводов с площадью сечения 0,5 кв. мм длина адресной линии составляет до 1,0 км. В случае использования двух лучей длина адресной линии будет двойная. Для расчета длины адресной линии разных вариантов конфигурации и различных сечений проводов доступен программный калькулятор.
- Адресные устройства получают питание от адресной линии. Адресные оповещатели в режиме оповещения дополнительно получают питание от автономных источников питания – литиевых батарей.
- В приборе предусмотрен запуск пожарного оповещения ручным способом при помощи кнопки «Пуск» КП прибора, либо с помощью адресного устройства дистанционного пуска «ВС-УДП-АП».
- Управление адресными зонами и группами зон выполняется с помощью электронных ключей ТМ, общим количеством до 255.
- Прибор имеет интерфейс RS-485 для работы с пультовой системой, системой передачи извещений «ВЕТТА – 2020» и для подключения устройства регистрации событий «ВС-УРС ВЕКТОР».
- Контрольная панель имеет 19 зон охраны, за которыми закрепляются адресные извещатели. Тип зоны определяется типами извещателей, закрепленных за зоной охраны: пожарная, охранная, смешанного типа – охранно-пожарная. Все оповещатели прибора закрепляются за единой зоной оповещения. Если прибор работает в составе системы «ВЕТТА-2020», то оповещатели прибора могут быть включены в группы (зоны) оповещения, общие для системы.
- Управление зонами выполняется с помощью электронных ключей ТМ. Один ключ может быть закреплен за группой зон, таким образом образуется раздел ключа. Разделы ключей могут быть пересекающимися – зоны могут входить в несколько разделов.
- Прибор ведёт журнал событий с привязкой ко времени размером 2000 событий. Посмотреть журнал событий можно с помощью устройства регистрации событий «ВС-УРС ВЕКТОР», компьютерной программы «Конфигуратор» прибора «ВС-ВЕКТОР-АП220» или средствами «ВЕТТА-2020», при работе в составе системы.
| Количество адресных зон охраны | 19 | Количество зон оповещения (направлений оповещения) | 1 | Общее количество адресных извещателей, оповещателей и тре- вожных кнопок на один прибор, шт. | до 140 | Количество электронных ключей ТМ на один прибор, шт. | до 255 | Количество выходов КП для подключения адресной линии | 2 | Тип конфигурации адресной линии | Кольцо, Один луч, Двалуча, Звезда | Максимальное сопротивление провода адресной линии, Ом | 70 | Максимальное сопротивление адресной линии с подключеннымиадресными устройствами, Ом | 100 | Длина адресной линии, при сечении провода 0,5 кв. мм, м | до 1000 | Длина адресной линии, при сечении провода 0,2 кв. мм, м | до 500 | Тип провода адресной линии | КСРВнг (А)-FRLS илианалогичный | Напряжение питания адресной линии, В | от 8 до 15 | Максимальный суммарный ток потребления адресных устройств вадресной линии КП прибора, не более, мА | 60 | Количество выходов КП для подключения линии RS-485 | 1 | Максимальная длина линии RS-485, м | 1000 | Размер журнала событий прибора, событий | 2000 | Количество реле КП прибора | 4 | Параметры реле прибора:коммутируемое напряжение переменного тока, не более, В / коммутируемое напряжение постоянного тока, не более, В / коммутируемый ток, не более, мА | 70 / 100 /150 | Количество вводов питания КП, шт. | 2 | Напряжение питания по каждому вводу питания КП, В | от 10 до 15 | Максимальный потребляемый КП ток от ввода питания во всех ре- жимах, мА | 250 | Степень защиты оболочкой КП по ГОСТ 14254 | IP40 | Диапазон рабочих температур КП, °С | от –30 до +55 | Масса КП, не более, кг | 0,5 | Габаритные размеры КП, не более, мм | 255×165×40 | Срок службы прибора, лет | 10 | 
Оплата
Оплатить заказ Вы можете безналичным переводом по реквизитам, указанным в выставленном счёте после оформления заказа.
Доставка
«Альянс групп»предоставляет полный комплекс услуг по доставке оборудования в любую точку страны, любым видом транспорта.
Получить приобретённый товар Вы можете удобным для Вас способом:
- Самовывозом с нашего склада, расположенного по адресу- г. Москва, 104 км. МКАД, д. 8А.
- Воспользоваться услугой доставки в пределах Москвы и Московской области. Заказ и согласование даты доставки осуществляется через Вашего менеджера.
Если сумма заказа превышает 50 тыс. рублей, доставка по одному адресу Получателя осуществляется БЕСПЛАТНО.
- Доставка заказа в регионы России осуществляется через транспортные компании. Доставка груза до транспортной компании производится нашим транспортом.
Тарифы доставки по Москве:
         
             При сумме заказа менее 50 тыс. рублей, доставка по Москве осуществляется по тарифам зоны:
        
- зона 3 — 500 руб.;
- зона 1 — 1000 руб.;
- зона 2, 4 — 1500 руб.;
- зона 5 — 2000 руб
Транспортные компании, с которыми мы сотрудничаем:
- Деловые линии
- Байкал-Сервис
- СДЭК
- Энергия
- Другим удобным для вас способом по согласованию
 
        










 
    


 
	 
	






