Термокожух взрывозащищенный ТГБ-4Г Ех IIC-12 предназначен для установки сетевых (IP) и аналоговых видеокамер с объективами, ИК прожекторов и другого электронного оборудования и защиты его от воздействия окружающей среды (влаги, пыли и отрицательных температур).
Область применения
Обеспечение охраны, безопасности и контроля за технологическими процессами взрывоопасных производств нефтяной, нефтеперерабатывающей, нефтехимической, газовой и других промышленностей народного хозяйства, опасных по газу и пыли.
Место установки
Наружные пространства и внутренние пространства помещений, классифицированные как взрывоопасные зоны классов 1, 2, 21 и 22 (при классификации по зональному принципу), где возможно образование взрывоопасных газовых смесей подгрупп IIА, IIВ, IIC, пылевых сред подгрупп IIIА, IIIВ, IIIC, температурных классов Т1-Т6 или взрывоопасные зоны класса В-I, В-Iа, В-Iб, В-Iг, согласно главе 7.3 «Правил устройства электроустановок» (ПУЭ).
Термокожух ТГБ-4Г Ех IIC-12 выполнен в виде взрывонепроницаемой оболочки по ГОСТ 31610.0 (IEC 60079‑0), ГОСТ IEC 60079-1, ГОСТ IEC 60079-31 с маркировкой взрывозащиты 1Ex db IIC T6 Gb X / Ex tb IIIC T80°C Db X cо степенью защиты обеспечиваемой оболочкой – IP66/IP68 и по уровню защиты относится к взрывобезопасному электрооборудованию.
Термокожух обеспечивает:
- автоматическое включение/отключение встроенного обогревателя в заданном диапазоне температур;
- отключение питания термокожуха при повышении температуры внутри его выше +70°С (из-за климатических факторов - в летний период) и восстановление питания после понижения температуры ниже +60°С;
- две ступени мощности обогрева, что позволяет использовать термокожух в разных климатических зонах в соответствии с ГОСТ 15150.
Модуль видеокамеры изолирован от корпуса термокожуха.
Смотровое окно выполнено из ударопрочного закалённого стекла.
Термокожух выпускается по техническим условиям ТУ 26.30.50-081-31006686-2019.
Термокожух соответствует:
- техническим требованиям – ГОСТ Р 51558;
- требованиям по безопасности – ГОСТ Р МЭК 60065;
- требованиям по ЭМС – ГОСТ Р 50009, ГОСТ 30804.3.2, ГОСТ 30804.3.3;
- степени защиты от поражения электрическим током – I классу по ГОСТ 12.2.007.0.
Климатическое исполнение термокожуха соответствует УХЛ1, 5 по ГОСТ 15150. Степень защиты IP66/IP68.
СОСТАВ. ГАБАРИТНЫЕ И УСТАНОВОЧНЫЕ РАЗМЕРЫ:

| 1 | Термокожух ТГБ-4Г Ех IIC |
| 2 | Гермовводы для небронированного кабеля – Ø кабеля 3,2÷8,1*мм – 2 шт. (один гермоввод имеет заглушку) |
| 2.1 | Держатель металлорукава (РЗ-ЦХ-12 или МРПИ-12 – Øвн./Øнар=12/15мм) |
| 3 | Модуль для видеокамеры |
| 4 | Клемма заземления |
| 5 | Шарнир |
| 5.1 | Гайка болта фиксации шарнира |
| 6 | Кронштейн |
| 7 | Солнцезащитный козырёк |
* Гермовводы для кабелей другого диаметра и других металлорукавов, а также для бронированных кабелей устанавливаются по отдельной заявке.
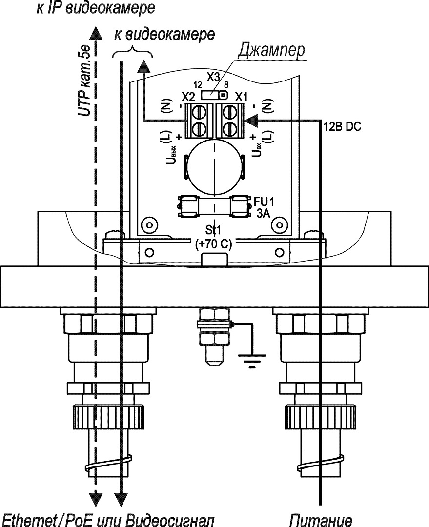
СХЕМА ПОДКЛЮЧЕНИЯ ТГБ-4Г Ех IIC:

ВИДЕОНАБЛЮДЕНИЕ ВО ВЗРЫВОПОЖАРООПАСНОЙ СРЕДЕ
Климатические испытания. Что имеем и чем руководствоваться
Термокожух на все IP и аналоговые случаи жизни
РoE – не панацея, а частный случай [Журнал ТЗ № 3 2013]
| Характеристика | Значение |
| Напряжение питания | 12 В DC |
| Максимально допустимая мощность устанавливаемого в термокожух электронного оборудования (видеокамеры) | 60 Вт |
| Температура вкл./откл. обогрева | 20°С / 25°С |
| Мощность обогрева * | 8 Вт / 12 Вт |
| Климатические условия работы: – диапазон рабочих температур – влажность воздуха | -60°С ÷ +50°С до 100% при +25°С |
| Габаритные размеры | см. рис. |
| Вес с упаковкой | не более 3,9 кг |
| Режим работы | круглосуточный |
Оплата
Оплатить заказ Вы можете безналичным переводом по реквизитам, указанным в выставленном счёте после оформления заказа.
Доставка
«Альянс групп»предоставляет полный комплекс услуг по доставке оборудования в любую точку страны, любым видом транспорта.
Получить приобретённый товар Вы можете удобным для Вас способом:
- Самовывозом с нашего склада, расположенного по адресу- г. Москва, 104 км. МКАД, д. 8А.
- Воспользоваться услугой доставки в пределах Москвы и Московской области. Заказ и согласование даты доставки осуществляется через Вашего менеджера.
Если сумма заказа превышает 50 тыс. рублей, доставка по одному адресу Получателя осуществляется БЕСПЛАТНО.
- Доставка заказа в регионы России осуществляется через транспортные компании. Доставка груза до транспортной компании производится нашим транспортом.
Тарифы доставки по Москве:
При сумме заказа менее 50 тыс. рублей, доставка по Москве осуществляется по тарифам зоны:
- зона 3 — 500 руб.;
- зона 1 — 1000 руб.;
- зона 2, 4 — 1500 руб.;
- зона 5 — 2000 руб
Транспортные компании, с которыми мы сотрудничаем:
- Деловые линии
- Байкал-Сервис
- СДЭК
- Энергия
- Другим удобным для вас способом по согласованию























